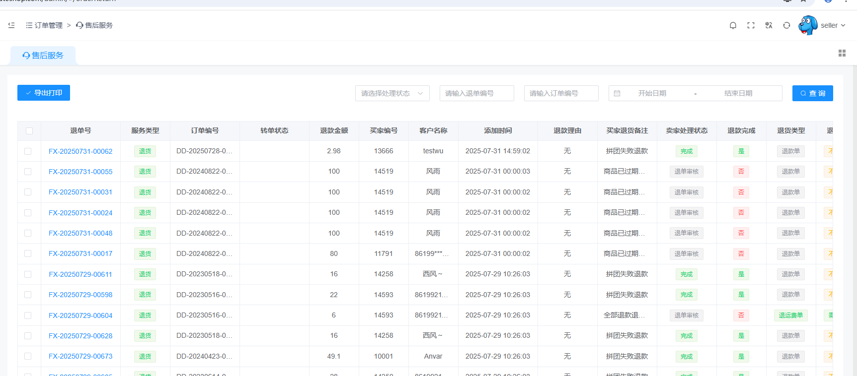
售后服务

用户申请退换货及拼团失败自动退款的都会在此处显示

商家在这里处理退换货申请

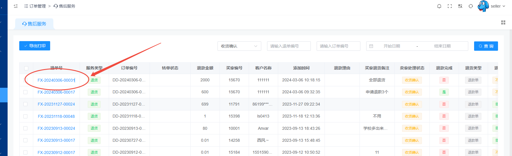
退换货操作

通过状态筛选订单 点击订单号进入详情进行操作

如果同意退款,使用微信支付宝支付的会自动原路退回。退款完成的 退款完成状态显示:是 渠道退款显示:已退

文档更新时间: 2025-08-13 15:13   作者:随商信息技术(上海)有限公司